您好,欢迎访问我们的官方网站,我们将竭诚为您服务!

MAYZUM过程仪表事业部 >>

主页  > 产品展示  > 粉体密度计  > MZ-103松装密度计
Array
(
    [id] => 2036
    [module_id] => 10
    [cate_id] => 284
    [title] => MZ-103松装密度计
    [subtitle] => 
    [style] => 
    [status] => 1
    [hidden] => 0
    [link_url] => 
    [target] => 0
    [author] => handler
    [author_type] => admin
    [keywords] => 
    [description] => 
    [note] => MZ-103松装密度计依据国家标准GB/T 16913.3-1997的规定设计、生产。本装置适用于粉尘堆积密度的测定。试样的采集请参考GB/T 16913.1-1997 粉尘物理实验方法 第1部分:试样粉尘的采集中的相关规定。
    [identifier] => 
    [hits] => 1756
    [good_hits] => 0
    [bad_hits] => 0
    [post_date] => 1625015672
    [modify_date] => 1630483911
    [thumb_id] => 1753
    [istop] => 0
    [isvouch] => 0
    [isbest] => 0
    [langid] => zh
    [points] => 0
    [ip] => 127.0.0.1
    [replydate] => 0
    [taxis] => 0
    [htmltype] => cateid
    [tplfile] => 
    [uid] => 0
    [seotitle] => 
    [price] => 0
    [free] => 0
    [ifspecial] => 0
    [promotion_start] => 0
    [promotion_end] => 0
    [freeshipping] => 0
    [weight] => 0
    [virtual] => 0
    [thumb] => Array
        (
            [files] => Array
                (
                    [id] => 1753
                    [title] => MZ-103
                    [filename] => upfiles/202106/30/afe513ae02d39375b.jpg
                    [thumb] => upfiles/202106/30/1753.thumb.jpg
                    [postdate] => 1625015681
                    [ftype] => jpg
                    [uid] => 0
                    [flv_pic] => 
                    [dir] => 
                )

            [gd] => Array
                (
                    [big] => upfiles/202106/30/1753_big.jpg
                    [n2] => upfiles/202106/30/1753_n2.jpg
                )

        )

    [propic] => 
    [model] => 
    [content] =>

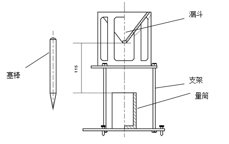
MZ-103松装密度计依据国家标准GB/T 16913.3-1997的规定设计、生产。本装置适用于粉尘堆积密度的测定。试样的采集请参考GB/T 16913.1-1997 粉尘物理实验方法 第1部分:试样粉尘的采集中的相关规定。
1、原理:粉尘从漏斗口在一定高度自由落下充满量杯;测定松装状态下量杯内单位体积粉尘的质量,即粉尘堆积密度。

2、仪器结构

2.1  漏斗(流出口直径12.7mm):漏斗不锈钢材料制成,其中漏斗锥度为60°±0.5

2.2  堵塞棒:不锈钢材质,用于在粉尘装入漏斗时防止粉尘下落。

2.3  天平(选购):最大称量100g;精度0.02g。

2.4  量杯:本装置配备一只容积为100ml的不锈钢量杯,量杯内径为Φ39mm。

2.5  刮板:不锈钢材质,用于在粉尘装入漏斗时去除多余的粉尘。

3、配置与价格:

序号

名  称

规格

数  量

设计原理图

1

密度计主机

MZ-103

1台

 

2

堵塞棒

不锈钢

1支

3

圆柱量杯

不锈钢(Φ39mm、100ml)

1只

4

盛料杯

125ml

1只

5

取样勺


1只

6

刮  板

不锈钢(120mm)

1只

7

毛  刷

15mm

1只

8

说明书、合格证

--------

1份

 

MAYZUN粉体设备选型表:

MZ-101斯科特容量计

MZ-102霍尔流速计

MZ-103堆积密度计

MZ-2001经济型粉体综合特性测定仪

MZ-3001经济型振实密度计

MZ-P3001多功能振实密度计(带打印功能)

MZ-T300粉体真密度测试仪

                    

[_cate_] => Array ( [id] => 284 [identifier] => fentimiduji [langid] => zh [cate_name] => 粉体密度计 [parentid] => 65 [module_id] => 10 [tpl_index] => [tpl_list] => [tpl_file] => [if_index] => 0 [taxis] => 5 [status] => 1 [if_hidden] => 0 [keywords] => [description] => [ifspec] => 0 [note] => [psize] => 12 [inpic] => n2 [linkurl] => [target] => 0 [ordertype] => id:desc [subcate] => [ico] => [small_pic] => [medium_pic] => [big_pic] => [seotitle] => ) )

MZ-103松装密度计

MZ-103松装密度计依据国家标准GB/T 16913.3-1997的规定设计、生产。本装置适用于粉尘堆积密度的测定。试样的采集请参考GB/T 16913.1-1997 粉尘物理实验方法 第1部分:试样粉尘的采集中的相关规定。
联系电话:153-0265-2247

产品详情

MZ-103松装密度计依据国家标准GB/T 16913.3-1997的规定设计、生产。本装置适用于粉尘堆积密度的测定。试样的采集请参考GB/T 16913.1-1997 粉尘物理实验方法 第1部分:试样粉尘的采集中的相关规定。
1、原理:粉尘从漏斗口在一定高度自由落下充满量杯;测定松装状态下量杯内单位体积粉尘的质量,即粉尘堆积密度。

2、仪器结构

2.1  漏斗(流出口直径12.7mm):漏斗不锈钢材料制成,其中漏斗锥度为60°±0.5

2.2  堵塞棒:不锈钢材质,用于在粉尘装入漏斗时防止粉尘下落。

2.3  天平(选购):最大称量100g;精度0.02g。

2.4  量杯:本装置配备一只容积为100ml的不锈钢量杯,量杯内径为Φ39mm。

2.5  刮板:不锈钢材质,用于在粉尘装入漏斗时去除多余的粉尘。

3、配置与价格:

序号

名  称

规格

数  量

设计原理图

1

密度计主机

MZ-103

1台

 

2

堵塞棒

不锈钢

1支

3

圆柱量杯

不锈钢(Φ39mm、100ml)

1只

4

盛料杯

125ml

1只

5

取样勺


1只

6

刮  板

不锈钢(120mm)

1只

7

毛  刷

15mm

1只

8

说明书、合格证

--------

1份

 

MAYZUN粉体设备选型表:

MZ-101斯科特容量计

MZ-102霍尔流速计

MZ-103堆积密度计

MZ-2001经济型粉体综合特性测定仪

MZ-3001经济型振实密度计

MZ-P3001多功能振实密度计(带打印功能)

MZ-T300粉体真密度测试仪

                    

查看更多 >>

产品推荐

153-0265-2247